The T type ring cores are mainly used for coupling transformers , balancing coils , fixed coils and filter coils.
Compatible with Pb-free RoHS and AEC-Q200


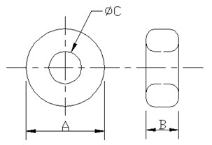
| DIMENSIONS & CHARACTERISTICS | UNIT : mm (inch) | |||
| NO | ORDERING CODE | A | B | C |
|---|---|---|---|---|
| 1 | K5B TQ 3.5*2*1.8-01 | 3.50±0.15 | 2.00±0.20 | 1.80±0.15 |
| 2 | K5B TQ 3.5*3.25*1.5 | 3.50±0.15 | 3.25±0.20 | 1.50±0.15 |
| 3 | K17 TQ 25*12*15-05 | 25.0±0.60 | 12.0±0.40 | 15.0±0.50 |
| 4 | K5B TQ 23.6*14*11.4-01 | 23.6±0.60 | 14.0±0.40 | 11.4±0.40 |
| 5 | K17 TQ 35*10*25 | 35.0±0.80 | 10.0±0.40 | 25.0±0.60 |
| 6 | K17 TQ 40.6*12*27.4 | 40.6±1.00 | 12.0±0.40 | 27.4±0.60 |
| 7 | K17 TQ 40.6*24*22 | 40.6±1.00 | 24.0±0.50 | 22.0±0.60 |