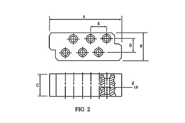
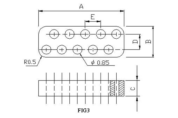
Special designed for Ethernet module Jacks or Phone Jacks




| DIMENSIONS & CHARACTERISTICS | UNIT : mm (inch) | ||||||
| NO | ORDERING CODE | A | B | C | D | E | Fig |
|---|---|---|---|---|---|---|---|
| 1 | F6Z 11.45*4.4*8.7 | 11.45±0.10 | 4.40±0.20 | 8.70+0.15(-0.20) | 2.18 | 2.54 | 2 |
| 2 | F8Z 11.45*4.4*8.7 | 11.45+0.10(-0.15) | 4.40+0.05(-0.15) | 8.70±0.20 | 2.54 | 2.54 | 1 |
| 3 | F10Z 13*4*3 | 13.00±0.15 | 4.00±0.10 | 3.00±0.15 | 2.54 | 2.54 | 3 |