The RID balun cores are used for wideband transformers and balance to unbalance transformers. But today they can be found wide application not only in the input circuits to TV and FM tuners but also in CATV ; MATV networks and installations.







| DIMENSIONS & CHARACTERISTICS | UNIT : mm (inch) | |||||
| NO | ORDERING CODE | A | B | C | D | Fig |
|---|---|---|---|---|---|---|
| 1 | RID 2.2*5.5*7.5-0.85 | 2.20±0.20 | 5.50±0.30 | 0.85±0.15 | 7.50±0.30 | 1 |
| 2 | RID 2.5*6*5-1.2 | 2.50±0.20 | 6.00±0.30 | 1.20±0.15 | 5.00±0.20 | 1 |
| 3 | RID 3*2*5-1.25 | 3.00±0.20 | 2.00±0.20 | 1.25±0.15 | 5.00±0.30 | 1 |
| 4 | RID 3*3*5-1.25 | 3.00±0.20 | 3.00±0.20 | 1.25±0.15 | 5.00±0.30 | 1 |
| 5 | RID 3*3*5-1.4 | 3.00±0.20 | 3.00±0.20 | 1.40±0.15 | 5.00±0.30 | 1 |
| 6 | RID 3*5*5-1.5 | 3.00±0.20 | 5.00±0.30 | 1.50±0.15 | 5.00±0.30 | 1 |
| 7 | RID 3.5*7.4*8-1.8 | 3.50±0.20 | 7.40±0.30 | 1.80±0.15 | 8.00±0.30 | 1 |
| 8 | RID 4.1*3.2*7-1.8 | 4.10±0.20 | 3.20±0.20 | 1.80±0.15 | 7.00±0.30 | 1 |
| 9 | RID 4.1*4*7-1.8 | 4.10±0.20 | 4.00±0.20 | 1.80±0.15 | 7.00±0.30 | 1 |
| 10 | RID 4.1*6.3*7-1.8 | 4.10±0.30 | 6.30±0.30 | 1.80±0.15 | 7.00±0.30 | 1 |
| 11 | RID 6.5*4*12-3.8 | 6.50±0.40 | 4.00±0.20 | 3.80±0.20 | 12.00±0.30 | 1 |
| 12 | RID 7.5*4*13-4.1 | 7.50±0.30 | 4.00±0.30 | 4.10±0.20 | 13.00±0.40 | 1 |
| 13 | RID 7.5*7*13-4.1 | 7.50±0.40 | 7.00±0.30 | 4.10±0.20 | 13.00+0.5-0.3 | 1 |
| 14 | RID 7.5*10*13-4.1 | 7.50±0.30 | 10.00±0.30 | 4.10±0.25 | 13.00±0.50 | 1 |
| 15 | R3D 4.5*6.5*12.9-1.7 | 4.50±0.20 | 6.50±0.30 | 12.90±0.30 | 1.70±0.15 | 5 |
| 16 | RHH 6.5*6*1.3 | 6.50±0.30 | 6.00±0.30 | 1.30±0.15 | - | 6 |
| 17 | RHH 6.8*5.5*1.5-S | 6.80±0.30 | 5.50±0.30 | 1.50±0.15 | - | 2 |
| 18 | RHH 7*5.5*1.55 | 7.00±0.30 | 5.50±0.30 | 1.55±0.15 | - | 6 |
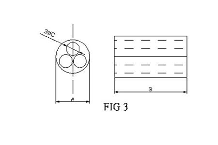
| 19 | R3H 16*28*5 | 16.00±0.40 | 28.00±0.60 | 5.00±0.25 | - | 3 |
| 20 | R4H 8*5*1.5 | 8.00±0.30 | 5.00±0.30 | 1.50±0.15 | - | 4 |