The split ferrites are used for EMI suppression on flat cable assemblies.
* Internal floppy disk and hard disk ribbon cables
* Internal ribbon cables between circuit boards and data connectors.
* Internal ribbon cables with 8;16;32 or 64 bit digital signal busses











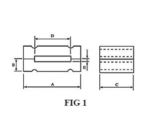
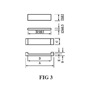
| DIMENSIONS & CHARACTERISTICS | UNIT : mm (inch) | |||||||
| NO | ORDERING CODE | A | B | C | D | E | Fig | |
|---|---|---|---|---|---|---|---|---|
| 1 | FP16.5*2*10.25 | 16.50±0.30 | 2.00±0.20 | 10.25±0.40 | 12.50±0.30 | 0.60±0.20 | 2 | |
| 2 | FP 25*2.8*12 | 25.00(+0.50/-0.30) | 2.80(+0.00/-0.40) | 12.00±0.30 | 21.00(+0.50/-0.20) | 1.10±0.30 | 2 | |
| 3 | FPC 25*2.8*12 | 25.00(+0.50/-0.30) | 2.80(+0.00/-0.40) | 12.00±0.30 | 21.00(+0.50/-0.20) | 1.10±0.30 | 3 | |
| 4 | FP 28.5*2.25*15 | 28.50±1.00 | 2.25±0.20 | 15.00±0.50 | 23.50±0.70 | 0.42±0.10 | 6 | |
| 5 | FP 32*2.1*12 | 32.00±1.00 | 2.10±0.20 | 12.00±0.50 | 27.00±0.70 | 0.40±0.20 | 2 | |
| 6 | FP37.1*3.3*12.7 | 37.10±1.00 | 3.30±0.20 | 12.70±0.50 | 32.00±0.70 | 0.90±0.20 | 2 | |
| 7 | FP 38*6.35*10 | M | 38.00±1.00 | 6.35±0.25 | 10.00±0.40 | 26.60±0.70 | 0.80±0.20 | 1 |
| 8 | FP 38*6.35*25.4 | M | 38.00±1.00 | 6.35±0.25 | 25.40±0.70 | 26.60±0.70 | 0.80±0.20 | 1 |
| 9 | FP 40*2*12 | 40.00±1.00 | 2.00±0.20 | 12.00±0.60 | 35.00±1.00 | 0.50(+0.40/-0.30) | 6 | |
| 10 | FPC 40*2.7*12 | 40.00±1.00 | 2.70±0.20 | 12.00±0.50 | - | - | 5 | |
| 11 | FP 40*3.25*12 | 40.00±1.00 | 3.25±0.25 | 12.00±0.50 | 35.00±0.70 | 0.55±0.20 | 9 | |
| 12 | FP 40*3.3*12 | 40.00±1.00 | 3.30±0.25 | 12.00±0.50 | 34.80±0.50 | 0.60±0.40 | 8 | |
| 13 | FP 42*4*22 | MB | 92.20±1.00 | 24.50±1.00 | 45.60±1.00 | 36.00±1.00 | 10.00±1.00 | 7 |
| 14 | FP 42*4*22 | MG | 92.20±1.00 | 24.50±1.00 | 45.60±1.00 | 36.00±1.00 | 10.00±1.00 | 7 |
| 15 | FP 45*6.35*10 | M | 45.00±1.00 | 6.35±0.25 | 10.00±0.40 | 34.40±0.70 | 0.80±0.20 | 1 |
| 16 | FP 45*6.35*28.5 | M | 45.00±1.00 | 6.35±0.25 | 28.50±0.70 | 34.40±0.70 | 0.80±0.20 | 1 |
| 17 | FP 49.6*3.25*5 | 49.60±1.00 | 3.25±0.25 | 5.00±0.30 | 44.00±0.80 | 0.55±0.20 | 6 | |
| 18 | FP 49.6*3.25*12 | 49.60±1.00 | 3.25±0.25 | 12.00±0.50 | 44.00±0.80 | 0.55±0.20 | 6 | |
| 19 | FP 55.1*6.35*10 | M | 55.10±1.20 | 6.35±0.25 | 10.00±0.40 | 43.70±1.00 | 0.80±0.20 | 1 |
| 20 | FP55.1*6.35*28.5 | M | 55.10±1.20 | 6.35±0.25 | 28.50±0.70 | 43.70±1.00 | 0.80±0.20 | 1 |
| 21 | FPC 60*2.7*12 | 60.00±1.20 | 2.70±0.20 | 12.00±0.50 | - | - | 5 | |
| 22 | FP 63.5*6.35*13 | M | 63.50±1.20 | 6.35±0.25 | 13.00±0.40 | 52.00±1.00 | 1.10±0.30 | 1 |
| 23 | FP 63.5*6.35*15 | M | 63.50±1.20 | 6.35±0.25 | 15.00±0.40 | 52.00±1.00 | 0.80±0.20 | 1 |
| 24 | FP63.5*6.35*28.5 | M | 63.50±1.20 | 6.35±0.25 | 28.50±0.70 | 52.00±1.00 | 0.80±0.20 | 1 |
| 25 | FP63.5*6.35*28.5 | MP | 63.50±1.20 | 12.70±0.50 | 28.50±0.70 | 52.00±1.00 | 1.60±0.40 | 4 |
| 26 | FP76.2*6.35*28.5 | M | 76.20±1.50 | 6.35±0.25 | 28.50±0.80 | 65.30±1.30 | 0.85±0.20 | 1 |